Оборудование для бассейнов
/
/
Подогрев воды
/

Теплообменники Max Dapra D-HWT (сталь-сталь)

Описание

Теплообменник Max Daprà D-HWT – это оборудование для бассейна, предназначенное для нагрева воды и поддержания заданной температуры.

Полированный корпус и спираль изготовлены из кислотостойкой нержавеющей стали AISI-316. Подходит для любого типа инсталляций (котлы, ​тепловые насосы, ​солнечные панели и др.).

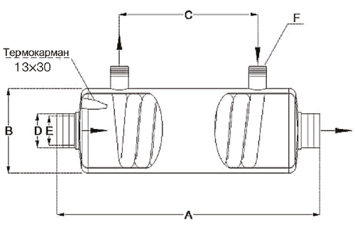
Характеристики и размеры

Графики